泡泡玛特Labubu全球爆火,潮玩IP在海外如何筑起 “知识产权护城河”

阅读: 次 更新时间:2025-07-07

“Labubu(拉布布)最近太火了,尤其是第三代,根本抢不到。”近日,一股潮玩风潮席卷市场。而Labubu的爆红也拉动了泡泡玛特股价上涨,让公司成功迈入“3000亿港元俱乐部”。
 
拆解其商业密码,以知识产权为核心的立体保护体系,正是泡泡玛特构建竞争壁垒的关键。
 
泡泡玛特知识产权体系的多维构建
 
泡泡玛特通过 “商标 + 著作权 + 专利” 三位一体的保护策略,打造出坚不可摧的 IP 护城河。例如,Labubu 的“锯齿尖牙”、“不对称圆眼”等特征已申请外观设计专利,其北欧精灵形象通过著作权登记强化保护。在跨境布局上,泡泡玛特在欧盟、美国、东南亚等主要市场完成商标注册,并通过海关备案拦截侵权货物。
 
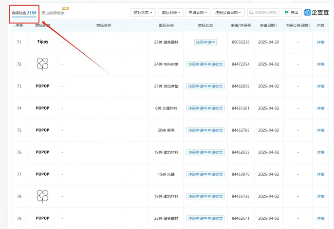
据查询,北京泡泡玛特文化创意有限公司名下拥有超过2000枚商标。
 
 
不仅商标数量多,在商标布局上,泡泡玛特对每个IP 都进行了全方位的商标注册,比如近期爆火的“labubu”,不仅注册了核心的第28 类玩具商标,和其他相关类别上的防御性注册,如第16 类文具、第35 类广告销售、第41类教育娱乐等,甚至连文字和图片都进行了全品类商标注册,这也在一定程度上杜绝了其他主体蹭名牌的可能。
 
 
除了在商标布局上占得先机之外,泡泡玛特公司还组建了专业团队,涵盖商标、专利、版权领域,全面负责知识产权的申请、维护、监控和维权,确保每个创意成果受到合法保护。
 
据相关报道,仅2024年,泡泡玛特国内共接收并处理了34,578起线上投诉举报。在2024年12月,多地海关陆续查获涉嫌侵犯“labubu”等著作权的文创产品9批次、14万件,货值人民币17万元。
 
潮玩企业的“3+3+1”知识产权防御
 
对于寻求品牌突围的潮玩企业,可借鉴泡泡玛特经验,构建 “3 + 3 + 1” 防御体系,全方位守护品牌安全,具体包括:
 
三大核心市场圈:
 
聚焦欧美等主营市场,提前布局 RCEP 成员国等潜在市场,并警惕抢注高发区(如东南亚),通过全球化商标布局抢占先机,确保品牌在全球范围内的稳定发展。
 
三维立体保护层:
 
对文字商标、图形商标、产品外观进行全方位注册,有效防止他人在不同维度上对品牌的侵权行为,维护品牌的完整性和独特性。
 
一套敏捷响应机制:
 
建立 24 小时动态监测系统,对侵权行为快速启动异议、无效宣告等法律程序,将品牌损失降至最低。
 
对于企业来说,泡泡玛特的成功经验具有重要的借鉴意义。在品牌建设过程中,要充分认识到商标布局的重要性,将商标布局纳入企业的战略规划中,提前谋划,精心布局。要根据企业的发展战略和业务规划,确定商标的注册类别和范围,构建起完善的商标保护体系。一旦发现侵权行为,及时出击,坚决维护自身的知识产权。
 
百利来提供国际知识产权服务,专业致力于全球商标注册、商标变更转让续展、商标评审等确权维权业务及全球版权登记、国际专利等配套服务,因为专业,所以值得您信赖。如您有任何知识产权的相关问题,都可联系在线客服或来电咨询,您将获得一套免费但有价值的解决方案!

上一篇:穿透式监管落地!税局正式盯上你的跨境平台收入

下一篇:商标案例 | “国轩堂”商标驳回

精彩图文专题

最新资讯新闻